这里我们主要谈谈数控系统的安全运行少主轴单板去皮机.
CNC数字无主轴单板削皮机是一种旋转主轴单板削皮机中拉直的原木或剩余木芯的设备。
该设备通常由双辊固定,剥皮刀沿平行轨道线性移动。这种少主轴单板剥皮机采用先进的数控系统,可以根据原木的当前直径,摩擦辊的转速以及单板所需的厚度来计算出各个零件的传动比,从而生产出高厚度的单板。优质贴面。
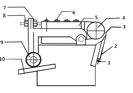
一,单板剥皮机主要零件:
1,计算机控制箱:完成设备的全部控制功能
2,控制台:将信号传输到控制箱,实现操作设备的功能
3,自动导辊:将已切下的木芯从刀口上取下
4,自动调整刀缝支架:用于固定单辊驱动总成,完成调整刀缝的功能
5,接缝轨道的自动调节:用于调节单辊工作台运动前后的行程,完成原木直径从大的变化到旋转过程中缝隙的自动调节切割
6,旋转推剪电机:用于驱动镗刀,实现切板功能
7,旋转剪子减速器:旋转剪子的功率降低部分
8,输送电机:用于驱动皮带旋转,实现贴面的功能
9,输送减速机:传动皮带电机减速段
10,双辊电机:用于驱动双摩擦辊来实现双摩擦辊的旋转,带动旋转木料旋转运动
11,双辊减速机:变速箱双辊电机动力的减速部分
12,单双辊:与原木接触并带动原木旋转
13,进给电机:用于驱动螺杆旋转,带动旋转刀具来回移动
14,进给减速器:减速部分驱动进给电机功率
15,进给螺杆:驱动进给功率是实现旋转切刀旋转的关键部分。双节距提高了旋转切刀运动的精度,并确保了饰面的均匀厚度。
16,单辊电机:用于驱动单个摩擦辊,实现单摩擦辊旋转,带动旋转切割原木旋转
单辊减速机:单辊电机功率的减速部分
二,安全操作单板生产线:
设备中发生的大多数事故是由于操作人员未严格按照操作程序进行操作而造成的。
操作人员必须遵守的原则是,在操作过程中不得擦拭,润滑或维护设备。维护期间必须切断电源。必须检查设备电源的接地。
操作机器之前必须遵循以下原则:
1,设备的维护必须由训练有素,健康且适应能力强的人员进行,他们应能可靠地完成工作。
2,禁止喝酒,吸毒或类似行为的人操作,维护和修理设备。
3,设备启动前,操作人员应检查所有安全设施是否正常,并检查设备是否有明显缺陷。
4.如果设备有任何缺陷,特别是与安全操作程序有关的缺陷,则操作员应立即向主管报告或通知维护人员。
5.如果设备问题处于危机状态,则设备必须立即停止运行,切断电源,并在设备上做出警告标志。
6.在修理设备或进行其他工作时,应告知所有相关人员,如果必须给设备供电,则应由专人负责电源开关。
7.本设备只能用于制造商设计的旋转切割木材。
8.设备的技术进步会影响设备的运行和安全。它必须由制造商或制造商的授权人员执行。否则,制造商不承担因修改而造成的损失。
9.如果不能保证安全设备在安装,修理或维修期间能够正常运行,则必须由专业的被许可人进行安全操作,该被许可人必须确保人身伤害和设备损坏。
10,请勿佩戴戒指,手表,珠宝,项链,宽松的机票挂衣服,例如领带,破旧的衣服,普通的鞋子,未系扣的上衣或未拉开的拉链,可能被设备的活动部件刮擦。应穿戴经批准可防止事故的防护服。
11.清洁设备时,请务必停止电源,注意防止割伤,并使用适当的方法进行清洁。
12.如果设备生病,指示灯亮并且控制单元有故障,请不要操作设备。
13.在启动设备之前,请确保正确安装了所有组件,没有损坏任何部件,并且清楚地理解了每个操作按钮的功能。与机器无关的所有其他物体(衣服,工具,熨斗等)应从设备上移开。
14.电源电压高于设备所需的电压范围。请勿给设备通电,否则会损坏电子组件。
15.电气控制系统通电后,对电气部件充电非常危险。非专业人员请勿触摸它,以免发生电击危险。
16.在旋转切割过程中,应首先停止主机,并应打开原木。
17.在设备运行过程中,严禁使用危险工具,例如维护工具和清洁工具,并且严禁随意接触设备。
18.在旋转过程中,请勿用手触摸所有旋转部件。禁止非操作人员接近。禁止卸下或打开盖子。
19.对设备进行润滑时,禁止用手直接接触设备。
20.旋转木材至末端,然后使用小木轴或其他物体敲除剩余的木轴。不建议用手触摸木轴。
21,设备操作人员应负责,其他人员不能动手操作,避免操作失误的危险。操作员必须在稳定,平衡的地面上工作,并且必须确保设备工作场所中的照明良好。
22.不要让设备在未经照顾的情况下运行。
23.设备运行时,请注意是否有异常声音。如果发生异常,请立即停止机器,切断电源,找出故障原因并消除电源测试。
24.如果操作不正常,请通知维修负责人。必须按照本手册中的安全规定中的事故预防措施进行所有维修。
三,调整旋转切刀的高度
1。刀高度调节螺丝2,旋转切割刀片3,刀缝4,单摩擦辊5,单辊工作台组件6,单摩擦辊工作台固定螺栓7,单摩擦辊工作台组件前调节螺母8,单摩擦调节螺母后辊工作台组件9,自动调节接缝支架滑动轴承10,自动调节接缝轨道
步骤1.确认切刀高度达到标准位置(正常的标准切刀高度为103毫米)
步骤2.松开固定在单辊两侧的单排上的固定螺栓(图中编号6)。
步骤3.当将刀床打开至计算机显示器且木材直径为60 mm时,测量狭缝的尺寸并切开木材的厚度。 (如果单板的厚度为1.9毫米,则缝隙的宽度应调整为2.1毫米)
步骤4.调整后拉杆,将接缝调整到所需位置。然后拧紧拉杆前端和后端的两个螺母(图中标号为7、8),并锁定单排两侧的四个螺栓。
客户不得调节自动调节接缝轨道的固定螺栓和调节螺栓(图中10)。出厂标准的前后导轨的偏差比后侧高大约8毫米。该高度可以基于实际旋转切割木材的厚度。调整时,一般不需要调整。如果要在调整后前后打开刀床,则两侧的滚动轴承必须与辅助导轨紧密接触。
四。控制器操作说明
1,厚度设定:
在显示待机屏幕中,直接按数据加/数据减按钮设置旋转切割的厚度。设置后,系统自动确认。
2,宽度设置:
在待机状态下,按宽度按钮可直接进入宽度设置程序。在这种状态下,按数据加/数据减按钮可调整蝎子的宽度。设置后,系统自动确认。 10秒钟后,它将自动返回待机屏幕。
3,尾刀宽度调节:
在待机状态下,按尾刀宽度按钮直接进入后挡板宽度设置程序。在这种状态下,按数据加/减按钮调整尾刀宽度。尾刀宽度可以为正数,也可以为负数。设置完成后,系统将自动确认并在10秒钟后自动返回待机屏幕。
4,系统自检:
在待机状态下,按第二个按钮(红色)以显示自检屏幕。这时,机器启动,系统执行自检状态,自检完成后自动退出自检屏幕。
五,设备维修
维护注意事项
1.在旋转切割机上按照设备说明进行所有维护,润滑和清洁时,请切断电源。
2.请勿携带任何带电部件。必须经过授权负责人的批准才能修改一般安全规则,并始终在有多个人员在场的情况下执行特定的危险操作。
3.在工作之前,请务必检查是否已采取安全措施。
4.您必须告知其他操作员您必须进行维修和其他工作意图。
5.在启动设备之前,请确保已从设备上卸下所有钥匙,工具和清洁工具。
6.设备维修或出现故障时,请务必贴上警告标志,尤其是设备的电源。
定期检查
1.为确保设备性能稳定和安全,请检查以下频率:在测试新设备之前,应在运动部件(例如导轨,进给螺杆,变速箱和变速箱齿轮)中注满润滑油。 。
2.在新机器中,每小时应在200小时内向润滑油,进给螺杆,导轨,传动齿轮,传动链等填充润滑油。在单机和双轮轴承衬套两侧的进给螺钉应在新机器上装满15天,然后每隔15天注满一次黄油,以确保设备的耐用性。
3.机器工作200个小时后,每个润滑部件每2个小时润滑一次。
4.每工作200小时检查一次电气控制。
5.单辊和双辊电机皮带是否松动或磨损。
如果您在使用时遇到任何问题单板去皮机,您可以及时与我们公司联系。
